Добрый день! Подскажите, пожалуйста, можно ли подключить уже известный на форуме датчик расхода (протока) Политех ко входу WB-M1W2, чтобы считать расход?
Попробовал бесхитростно: + и - от датчика подключить к БП 12в, а сигнал на вход WB-M1W2 (он питается от того же БП) - не получилось. Выставил защиту входа от дребезга на 0 - не помогло.
Стал сомневаться в реализуемости…засмущало то, что у него выход “открытый коллектор”, как я понимаю, а в документации WB-M1W2 написано про “сухой контакт”.
Наверное что-то упустил? Спасибо!
Здравствуйте.
По документации датчика не очень понятно на что именно замыкается контакт «сигнал» датчика при импульсе. Можете проверить непосредственно на датчике?
От этого непосредственно будет ясна схема подключения.
При включенном потоке воды: 12v между проводом сигнала (желтым) и землей (черным).
Да, так работать не будет. Дискретные входы WB-M1W2 v.3 срабатывают при замыкании на землю (GND).
В вашем случае подойдет WBIO-DI-WD-14, например.
Ну или использовать оптрон для развязки. Для примера: Контроль состояния уличных автоматических ворот - #6 от пользователя BrainRoot
Вопрос решился с помощью оптрона. Оказывается продаются готовые сборки от 2х до 10 каналов. На вход принимают от 3.3 до 30 V. Приобрел, подключил, сразу заработало. Спасибо!
Ну да, есть сборки. Но часто в них номиналы резисторов не те, приходится менять.
День добрый. Подскажите, какая в результате получилась сборка? Тоже хочу подключить расходомеры к контроллеру WB.
Добрый день! Вот такая работает: Модуль опторазвязки на 1 канал EL817 3-24В / Купить в RoboShop
перепаивать не потребовалось - все завелось нормально
Спасибо! А со стороны контроллера через какой порт/модуль принимаете сигнал?
Ок, спасибо!
Добрый день. Собрал, подключил, но что-то явно не так ![]()
Настройки на WB-MRM2-mini:
Значение счетчика (частота 1) замирает на 0,0002 и не меняется.
Подскажите пожалуйста где покопать?
Замерил мультиметром частоту на выходе из модуля оторазвязки показывает от 22 до 37 Hz.
Из документации WB-MRM2-mini:
По этой причине значение частоты меняется при старте насоса и замирает при достижении 10 Hz и более не меняется.
Позволит программно через правило.
А программно через правило набортный A4/D1 не позволит ?
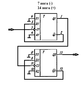
Можно на 1 микросхеме типа КР561ТМ2 или любыми D-триггерами, подходящими по напряжению, сделать делитель частоты на 4. А потом в правиле делать эту поправку.
Примерно вот так
С К561ИЕ8 можно пошире разгуляться в плане деления. Ну либо ТМ2 дальше каскадировать. Каждый элемент это /2. В микросхеме 2 элемента.
Попробую, спасибо!
А какие ограничения на порту контроллера input A/D?





